安全に係わる重要警告事項 Important Safety Precautions
ここでは特に知っておいていただきたいこと、守っていただきたいことをまとめてあります。
ご使用の前に必ずお読みください。
This chapter summarizes precautions that particularly you should know or follow.
Please read them before starting to use the product.
目次 / Index
- page1:電源OFF(取付・点検・修理前)
Switch OFF power (before setting/inspection/repair) - page2:ボルト締付/口金高さ/工作物高さ
Bolt torque / Jaw height / Work height - page3:改造禁止/飲酒・薬物禁止/手袋・ネクタイ禁止
No modification / No alcohol or drugs / No gloves or ties - page4:薄肉ワークの予備締付(スリーブ)/異常時/口金オプション注意
Pre-clamping thin work (sleeve) / Abnormal condition / Optional jaws - page5:吊り上げ/挟み込み/ハンドルへの衝撃禁止
Lifting / Pinch hazard / No shock or excessive force to handle - page6:清掃/中央把握(ダミー)/中空ワーク禁止
Cleaning / Center clamping (use dummy) / No hollow work (anti-clockwise) - page7:運転前にハンドルを外す
Remove handle before operating - page8:T溝基準/クランプ位置
T-groove basis / Clamp device positions - page9:工作物セット基準面/緩め操作/クラッチ噛み合い
Work setting reference face / Unclamping operation / Clutch engagement
危険 Danger
この表示の注意事項を守らないと、死亡や重傷など重大な人身事故の原因となります。
Failure to follow the safety precautions below will result in death or serious injuries.
バイスの取付、保守点検時には必ず取付機械の電源を切ること。
SWITCH OFF power before setting, inspecting or repairing vise.

警告 Warning
この表示の注意事項を守らないと、死亡や重傷など重大な人身事故の原因となる可能性があります。
Failure to follow the safety precautions below could result in death or serious injuries.
1. ボルトは規定トルクで締付けること Secure clamp bolts with specified torque.
口金、工作物が飛散して危険
Danger by discharge of workpiece and jaws.

2. 口金の高さは、締付レンジ制限表の範囲以内とすること
The height of the jaw should be within the maximum clamping range limits.
バイスが破損し、工作物が飛散して危険
Danger by discharge of workpiece in case of damaging of vise.

3. 工作物の高さは口金高さの2倍までとする
The height of the work should be lower than twice height of jaws (depend on cutting force).
- 口金高さに比べて極端に高いワークを把握して加工しないこと。
Don't cut extremely tall work in comparison with jaw height. - 特に矢印方向へは、切削力を小さくして使用すること。
Reduce cutting force when cutting direction is ↑ as shown.

警告 Warning
この表示の注意事項を守らないと、死亡や重傷など重大な人身事故の原因となる可能性があります。
Failure to follow the safety precautions below could result in death or serious injuries.
安易な改造はしないこと。 Do not attempt to modify vise.
バイスが破損して、工作物が飛散して危険
Danger by discharge of workpiece in case of damaging of vise.

アルコール又は薬物を飲んで操作してはならない。
Never attempt to operate a machine while under the influence of alcohol or drugs.

手袋、ネクタイ等を着用して操作してはならない。
Gloves and ties should not be worn when operating a machine.

警告 Warning
この表示の注意事項を守らないと、死亡や重傷など重大な人身事故の原因となる可能性があります。
Failure to follow the safety precautions below could result in death or serious injuries.
WARNING(薄肉・中空・低剛性ワークの締付け/スリーブ操作)
剛性の低い弾力体の工作物(薄板を重ね合わせた物又は中空の物など)の場合には、
本バイスの増力行程では正確に締付けるのに不十分な場合がしばしばあります。
これは工作物の変形に増力行程が消費されてしまうからです。
このような場合には、希望の締付けレンジを設定した後、
右図の様にスリーブを前方へ押し付けながらハンドルを右に回して、
予備締付けを十分行なって下さい。次にスリーブの前方への押し付けを解除し、
ハンドルを右に回して増力締付けを行なって下さい。
この予備締付けの際もハンドル操作は手で行ない、ハンマ等は使用しないで下さい。
In order to avoid distortion, in the case of thin walled, hollow or lower rigidity workpieces,
set the desired clamping range before performing the sufficient preliminary clamping by turning the handle
clockwise, pushing the sleeve forward as shown in the figure below.
Release sleeve mechanism and turn the handle clockwise for the final clamp adjustment.
The handle operation for this preliminary clamping must be done by hand without using a hammer.

WARNING(ハンドルが無負荷で回る場合)
予備締付けから増力締付けへ切換わった後にハンドルが無負荷(回転抵抗が無い)状態になった場合は、
増力機構の作動不良により締付け力が発生していない状態なので、分解整備が必要です。
When the handle goes into free turning condition (no turning resistance) after the preliminary clamping
and before final clamp adjustment, the vise needs disassembling and adjusting.
This is caused by the malfunction of the toggle mechanism which will need readjustment.
WARNING(オプション口金・特殊口金使用時)
オプションの成形用生口金の高さ寸法をそのまま使用の場合には、
最大の締付けレンジから必ず1レンジ下げて下さい。
また貴社にて特殊な口金を使用される場合には、取扱説明書の中に記載されている
口金寸法と締め付けレンジ及び取付ボルトのねじ込み深さとの関係を守ってご使用ください。
When using the optional forming soft jaw with its original height, be sure to reduce the tightening range
by 1 range from the maximum. Also, when manufacturing and using the special jaw, refer to the instruction manual,
keep the relation between jaw dimensions, clamping range and mounting bolts tightening length.
注意 Caution
この表示の注意事項を守らないと、軽症または中程度の傷害の原因となる可能性があります。
Failure to follow the safety precautions below may result in minor or moderate injuries.
バイスを機械に取付・取外しする時は、ワイヤーロープ及びアイボルトを使用すること。
When lifting vise, use wire-rope and eyebolt.
落下あるいは腰を痛める危険。
Danger by dropping and getting a crick in the back.
磁石付吊り具は使用しないこと。
Do not use lifting magnets.

工作物を締付ける時、手指をはさまないようにすること。
When clamping workpiece, make sure your hand is out of clamping area.
手指の挫滅や切断の危険。
Danger by finger broken or cut.

ハンドルに無理な力や衝撃を与えないこと。
Never attempt to apply unreasonable force and shock to handle.
バイスが破損して、工作物が飛散して危険。
Danger by discharge of workpiece in case of damaging of vise.
- ハンマで叩かないこと。
Never hammer handle. - インパクトレンチを使用しないこと。
Do not use a impact wrench. - ハンドルを延長して無理な力を加えないこと。
Never add excessive torque by extending handle.

注意 Caution
この表示の注意事項を守らないと、軽症または中程度の傷害の原因となる可能性があります。
Failure to follow the safety precautions below may result in minor or moderate injuries.
各部の清掃は確実に行うこと。Throughly clean each portion.
締付力が低下して工作物が飛散する危険がある。
Danger by discharge of workpiece in case of reducing clamping force.
スライドカバーの確実な使用と矢印各部及びクランプスクリューの清掃を行う。
Correctly set slide covers and clean allow portions and clamp screws.

口金の中央で把握すること。Clamp work at jaw center.
片寄った位置で把握する場合は、ダミーをいれる。
Insert dummy when clamping work in side position.
ダミーを入れないと精度不良、バイス破損につながる。
Clamping work in side position it would be cause of poor accuracy and damages.

CAUTION
ハンドルを左回しで(中空の工作物)把握しないこと。破損の原因となります。
Never clamp hollowed out works by turning the handle anti-clockwise. Because it will cause damage.

注意 Caution
この表示の注意事項を守らないと、軽症または中程度の傷害の原因となる可能性があります。
Failure to follow the safety precautions below may result in minor or moderate injuries.
機械を運転する前にバイスのハンドルを外すこと。
Before operate the machine, remove the handle.
ハンドルがスプラッシュガードに当たり、機械が破損する危険がある。
The handle may clash the splash guard and the machine may get damaged.

IMPORTANT 留意事項
知っておくと得な製品の性能、誤りやすいミスに関する事項
Instructions for vise performance and avoiding errors or mistakes.
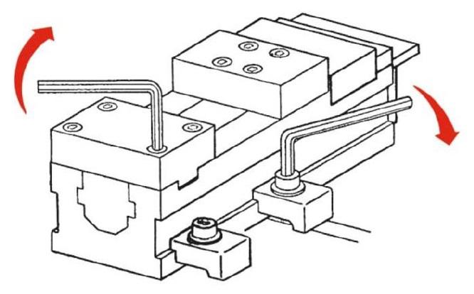
ガイドブロックの押し付け(T溝の基準)
Guide block alignment (T-groove basis)
T溝の片側が基準となるよう、ガイドブロックの側面を下図矢印方向へ押し付けて下さい。
Push the guide block side face in the following arrow direction so that one side of T-groove is to be basis.

クランプ器具の最適位置
Optimum clamp device positions
クランプ器具はワークの浮き上がりを最小に抑える為、ワークの大きさに応じて最適位置にセットして下さい。
Set the clamp devices to optimum positions according to work size so as to minimize lifting of work piece.


IMPORTANT 留意事項
知っておくと得な製品の性能、誤りやすいミスに関する事項
Instructions for vise performance and avoiding errors or mistakes.
工作物セット時の基準面
工作物のセットは、本体上面の研磨面に接するように取付けて下さい。形状的に直接本体上面に当てることができない時には、
敷金等を置き、本体上面が基準となるような方法を採って下さい。
Set the work so that it comes in contact with the grinding face on the upper face of vise.
If impossible by its shape, insert support metal as shown in the following figure.

緩め操作(左回転)時の注意
緩め時(左回転時)にはストロークエンドまで回し切らないようにして下さい。
Never turn the handle up to the stroke end while unclamping (anti-clockwise).
クラッチ噛み合いの確認
緩める時には「カチッ」と音がしてクラッチが完全に噛み合うまでハンドルを戻して下さい。
Return the handle until the clutch clicks to completely engage.